快盈VIII

公司动态

了解最新公司动态及行业资讯

砷污染土壤淋洗装置

2017-11-22 02:57:58 519 编辑:admin 来源:本站
    本发明的目的在于提出一种砷污染土壤淋洗装置以及对砷污染土壤的处置方法,该砷污染土壤淋洗装置采用单循环结构,通过将土壤淋洗系统、淋洗液的安全处置系统与淋洗液的循环系统有效结合,实现重金属同土壤的分离、淋洗液的净化和淋洗液的循环利用。
    一、为达此目的,本发明采用以下技术方案 :
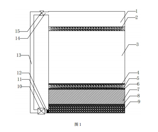
    一种砷污染土壤淋洗装置,包括一个淋洗容器,所述淋洗容器由上到下包括 :淋洗液储备室,第一过滤层,砷污染土壤层,第二过滤层,阻隔材料层和第三过滤层,在所述淋洗容器的底部侧面,即所述第三过滤层的底部侧面具有下端出水口,在所述容器的顶部侧面,即所述淋洗液储备室的顶部侧面具有上端进水口,所述下端出水口通过连接管与上端入水口连接,在连接管中间具有泵以将下端出水口的流出的淋洗液抽取到上端入水口,在所述上端入水口处具有阀以开闭所述连接管,其中所述淋洗液储备室用于储备淋洗液,各个过滤层包含有过滤层材料,所述阻隔材料层包含有对淋洗液中的砷进行阻隔吸附的阻隔材料。
    优选地,在所述下端出水口处具有微孔滤板进行封堵,所述微孔滤板的厚度为0.5cm,所述微孔滤板的孔径为<2.0mm。
    优选地,所述淋洗液储备室的高度为 30cm,所述连接管为 PVC 管,所述 PVC 管的直径为 2.0cm ;所述泵的额定功率为 P = 1.0KW。
    一种利用上述的砷污染土壤淋洗装置对砷污染土壤的处置方法,包括如下步骤 :
    (1) 土壤筛分 :对砷污染土壤进行筛分处理,去除土壤中大块石块 ;
    (2) 过滤层材料的选定 :确定所述淋洗装置中过滤层材料的种类和用量 ;
    (3) 阻隔材料的选定 :确定所述淋洗装置中阻隔材料的种类、配比与用量 ;
    (4) 淋洗液的选定 :根据污染土壤理化性质确定淋洗液的种类、浓度与用量 ;
    (5) 材料分层填充 :将所选定的过滤层材料以及待处理的砷污染土壤填充至所述砷污染土壤淋洗装置中 ;
    (6) 淋洗处理 :在所述泵与重力作用下,对所述砷污染土壤进行淋洗,淋洗液经过所述阻隔材料净化,并通过下端出水口和上端进水口实现所述淋洗液的循环利用 ;
    (7) 动态监测 :在淋洗过程中对砷污染土壤实施动态监测,当土壤砷含量达到标准,停止淋洗过程,洁净土壤可再利用 ;
    (8) 阻隔材料处置 :对所述阻隔材料进行安全处置。
    优选地,在本方法的各个步骤中 :
    步骤 (1) 中对砷污染土壤的破碎处理直径要求优选为<2.0cm,以确保含砷污染土壤与淋洗液能够充分混合接触,提高淋洗效率。
    步骤 (2) 中过滤层材料选用优选为 :石英砂和 / 或尼龙纱布 ;石英砂直径要求为<2.0cm ;尼龙纱布要求孔径<12目/寸,以降低由于淋洗液对土壤冲刷从而导致堵塞淋洗通道的风险。
    步骤 (3) 中阻隔材料 ( 即除砷材料 ) 选用活性炭与零价铁,其体积比优选为 1:2,混合方式为充分搅拌混合,其作为砷的吸附材料对淋洗后的含砷淋洗液中的砷有效去除。
    步骤 (4) 中淋洗液优选为 10%的 KH2PO4 溶液,淋洗液与砷污染土壤的用量体积比优选为 2:5。PO43-和 AsO43-物理化学性质相近,在结构上均属于四面体,且晶型相同,可以实现同晶置换,将 AsO43- 从土壤进入溶液环境,加速淋洗过程。
    步骤 (5) 中过滤层材料以及待处理的砷污染土壤的填充顺序与厚度由下到上依次优先为 :所述第三过滤层依次为厚度为 10cm 的第三石英砂层 9 和厚度为 0.2cm 的第三尼龙层8 ;厚度为20cm的阻隔材料层7 ;所述第二过滤层依次为厚度为0.2cm的第二尼龙纱布层 6、厚度为 5cm 的第二石英砂层 5 和厚度为 0.2cm 的第一尼龙纱布层 6 ;厚度为 80cm 的砷污染土壤层 3 ;以及所述第一过滤层为厚度为 5cm 的第一石英砂层 2。
    步骤 (6) 中淋洗处理过程首先通过上端入水口 14 加入淋洗液,淋洗液添加高度优先为 30cm,然后启动泵 10。
    步骤 (7) 中对砷污染土壤中砷含量进行动态监测,环境质量参照标准优选为《土壤环境质量标准》(GB15618-1995),土壤砷含量达到该标准对砷含量的限值要求后停止淋洗过程,洁净土壤可以再利用。
    步骤 (8) 对优选为多次淋洗后对阻隔材料进行安全处置,处置方法优选为参照《危险废物收集、贮存、运输技术规范》(HJ2025-2012)。
    二、优点:
    本发明的砷污染土壤安全处置方法采用单循环结构,通过将土壤淋洗系统、淋洗液的安全处置系统与淋洗液的循环系统有效结合,实现重金属同土壤的分离、淋洗液的净化和淋洗液的循环利用。本发明对砷污染土壤进行处置的方法改变了传统的淋洗处理方式,集污染土壤淋洗、淋洗液净化处理和淋洗液循环利用为一体,有效的解决了淋洗液净化处理的复杂工艺工序。通过本方法,污染土壤中重金属集中于可渗透反应材料层,即阻隔材料层,土壤安全处置后,可以集中对阻隔材料进行安全处置。通过本装置的反复淋洗,污染土壤中重金属含量达到土壤环境质量标准 (GB15618-1995),可以再次利用 ;淋洗液中污染物含量符合《污水综合排放标准》(GB8978-1996) 限值要求,循环利用结束后可以安全排放。本方法工艺程序简单、操作简易、成本低、效率高、可以实现砷污染土壤治理的规模化与工程化应用,同时,整个工艺而流程污染物均在密闭空间内,有效的避免污染治理过程中二次污染的产生,可广泛应用于不同浓度砷污染土壤的安全处置。
    三、附图说明
  砷污染土壤淋洗装置砷污染土壤淋洗装置对砷污染土壤进行安全处置的方法
    图 1 是根据本发明具体实施例的砷污染土壤淋洗装置 ;
    图 2 是利用本发明的砷污染土壤淋洗装置对砷污染土壤进行安全处置的方法。
    图中的附图标记所分别指代的技术特征为 :
    1、淋洗液储备室 ;2、第一石英砂层 ;3、砷污染土壤层 ;4、第一尼龙纱布层 ;5、第二石英砂层 ;6、第二尼龙纱布层 ;7、阻隔材料层 ;8、第三尼龙纱布层 ;9、第三石英砂层 ;10、泵 ;11、下端出水口 ;12、微孔滤板 ;13、连接管 ;14、上端进水口 ;15、阀。

30

装备制造经验

立即免费获取土壤修复方案

为用户提供及时、高效、便捷的服务

在线咨询
快盈VIII环境希望与你携手,共创美好未来...
5