快盈VIII

行业动态

了解最新公司动态及行业资讯

重力式土壤筛分装置的构造

2018-08-09 01:22:11 307 编辑:admin 来源:本站
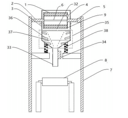
    当土壤中含有害物质过多,超过土壤的自净能力,就会引起土壤的组成、结构和功 能发生变化,微生物活动受到抑制,有害物质或其分解产物在土壤中逐渐积累通过“土壤→ 植物→人体”,或通过“土壤→水→人体”间接被人体吸收,达到危害人体健康的程度,就是 土壤污染。如今土壤修复中对土壤的筛选往往需要多人操作,效率低,浪费大量劳动力。 为了克服现有技术中存在的不足,提供一种土壤修复设备用重力式 土壤筛分装置,自动实现对土壤的多重筛选,避免土壤堆积,同时实现自动出料,提高了土 壤修复的效率。 
土壤筛分

    重力式土壤筛分装置,包括支撑装置、驱动装置和筒状的筛体,所述筛体架设在所述支撑装置上,所述筛体包括筛网结构层和侧板,所述筛网结构层围拢成筒状的筛筒结构,所述筛筒结构的两端分别设置有侧板,所述驱动装置驱动连接所述筛体绕轴心转动,所述侧板上开设有进料口;所述下料管下方固定有传送装置。本发明提供一种土壤修复用重力式土壤筛分装置,自动实现对土壤的多重筛选,避免土壤堆积,同时实现自动出料,提高了土壤修复的效率。 

30

装备制造经验

立即免费获取土壤修复方案

为用户提供及时、高效、便捷的服务

在线咨询
快盈VIII环境希望与你携手,共创美好未来...
5