快盈VIII

行业动态

了解最新公司动态及行业资讯

自动土壤修复设备出现的好处

2018-03-29 02:21:57 332 编辑:admin 来源:本站
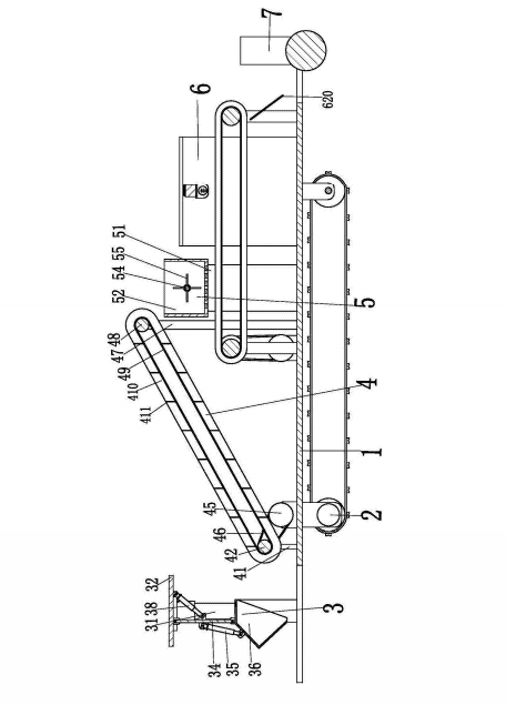
           在工矿业废气地土壤环境问题突出的时候,耕地土壤环境质量更加堪忧,面对土壤污染的严峻局面,国家理发速度明显加快,土壤修复的过程中,土壤修复设备一般是放在一个固定的地方,然后将需要修复的土壤统一送到指定的位置,在对土壤进行修复,但是当某一区域土壤修复完成土壤修复设备需要拆卸运输到下一个工作区域,操作复杂,工作量比较大,土壤的成本高,工作效率低,灵活性差。于是一种用于治理土壤污染自动土壤修复设备出现了。
 
           种用于治理土壤污染的自动土壤修复设备,包括底板,所述底板的下端设置有移动机构,底板的左端外侧设置有取土机构,底板左端设置有从下往上倾斜的输送机构,底板的中部设置有分散机构,分散机构可以对需要修复土壤中成块的土壤进行分散,使需要修复的土壤能够更加全面的被修复,从而提高土壤修复的效率,底板右端设置有喷洒修复机构,喷洒修复机构可以对需要修复的土壤进行处理,保证需要修复的土壤能够全面的接触到土壤修复剂,从而提高工作效率,底板的右端外侧设置有碾平机构。本发明可以实现机械化全自动修复土壤的功能,无需人工操作,且具有操作简单、工作效率高、土壤修复成本低等优点。

30

装备制造经验

立即免费获取土壤修复方案

为用户提供及时、高效、便捷的服务

在线咨询
快盈VIII环境希望与你携手,共创美好未来...
5