快盈VIII

行业动态

了解最新公司动态及行业资讯

土壤修复装置和人类生态圈的关联

2018-03-21 07:39:27 320 编辑:admin 来源:本站
          土壤是人类生存的自然生态圈的重要组成部分。随着农业与工商业的迅猛发展,重金属污染已经严重威胁到土壤环境的安全,具体体现在两个方面。不同的污染土壤,土壤修复采用的东西也有所不同,目前的投加装置还没有成熟设备。不能满足各类污染土壤修复的需求。
 
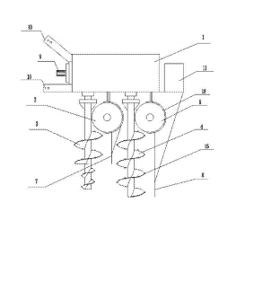
          土壤修复装置,属于土壤修复设备技术领域,包括竖向提升机构及与其相连的横向输送机构,竖向提升机构、横向输送机构与动力机构传动连接。本实用新型的结构简单、整体设计合理、操作方便且土壤修复效果好。

30

装备制造经验

立即免费获取土壤修复方案

为用户提供及时、高效、便捷的服务

在线咨询
快盈VIII环境希望与你携手,共创美好未来...
5